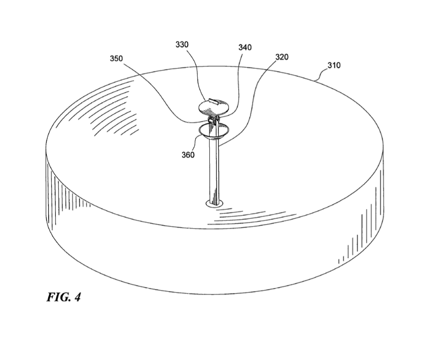
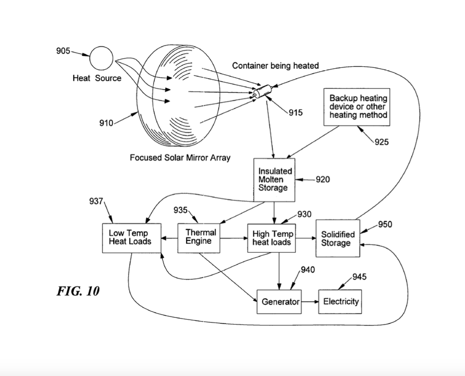
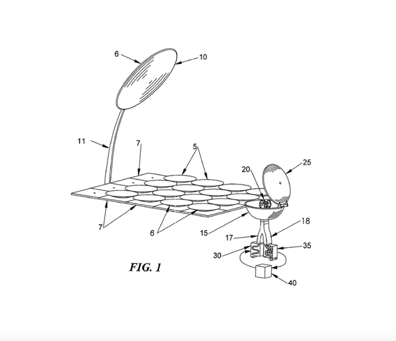
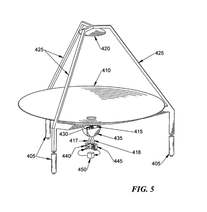
This patent discloses a method and apparatus for storing, transporting, and releasing high grade, thermodynamically useful energy for a wide variety of uses.
Abstract: A method and apparatus for storing, transporting, and releasing high grade, thermodynamically useful energy for a wide variety of uses. Solar energy is collected and reflected onto a heat storage container using a three-mirror reflecting system. This invention involves a method of heating the heat storage container using a primary, secondary, and tertiary system, which has a core that is partially comprised of an aluminum alloy and metallic shell with a higher melting point than the aluminum alloy contained within. Once heated, the storage containers can then be transported to different storage areas in order to heat secondary storage containers or can be used in processes such as cooking, powering heat engines, water heating, absorption refrigeration, or drying garbage, waste, or biomass. Read more...
