This patent discloses a hydraulic cylinder for use in exercise machines to deliver a controllable fast acting force. The invention uses a hydraulic cylinder with features that allow high acceleration rates, rapid changes of force level and direction, and positive force limitation.
Abstract: This invention is a hydraulic cylinder for use in exercise machines to deliver a controllable fast acting force. The invention uses a hydraulic cylinder with features that allow high acceleration rates, rapid changes of force level and direction, and positive force limitation. In the preferred embodiment, the hydraulic cylinder is composed of a rodless hydraulic cylinder coupled to a cable pulley system. A water source delivers water to generate a force against an inner bi-directionally moving piston to generate a regulated movement and force.
The ends of the rodless hydraulic cylinder are sealed by both a water control spool valve and a controllable poppet style pressure relief valve. The water control spool valves adjustably permits water to enter and exit the hydraulic cylinder to regulate the direction and speed of movement of the piston. The pressure relief valve controls the desired maximum pressure and corresponding forces exerted on cylinder. Thus, both the internal speed and force of movement of the piston can be controlled. THe invention can deliver high acceleration/speed, high force resistance; high acceleration/speed, low force resistance; low acceleration/speed, high force resistance; or low acceleration/speed, low force resistance exercise forces and movements depending on the water flow, internal pressure, and resulting generated forces. Read more...
This patent discloses an improved method and apparatus for physical strength, agility and endurance training uses fluid jet reaction forces to train and strengthen muscles.
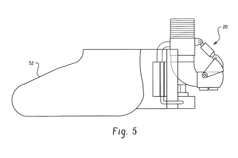
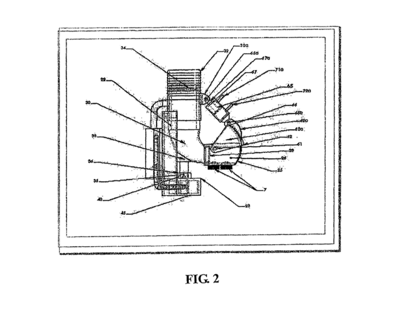
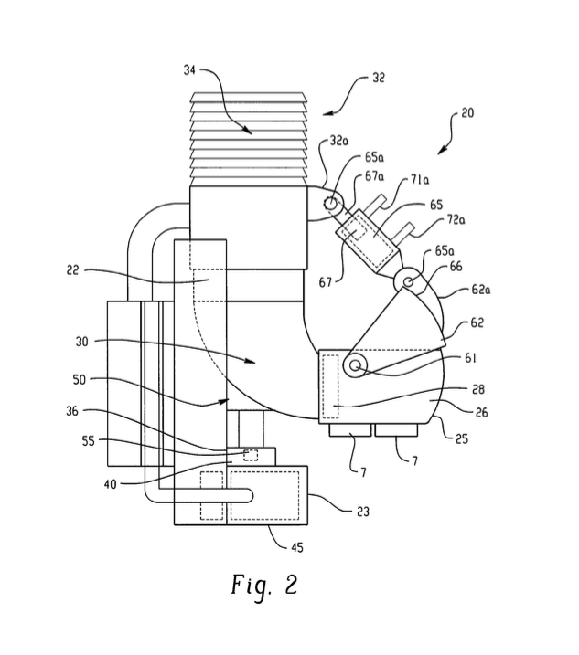
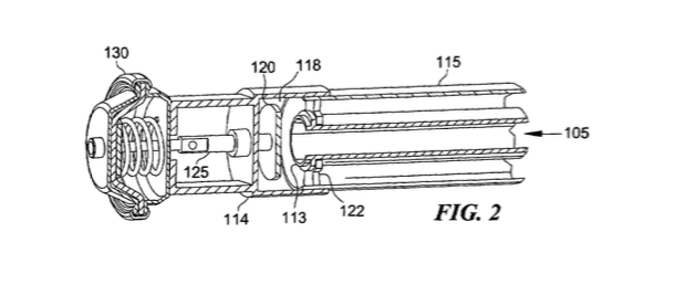
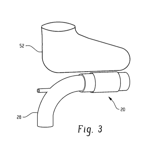
Abstract: An improved method and apparatus for physical strength, agility and endurance training uses fluid jet reaction forces to train and strengthen muscles. The device for physical training includes a source of pressurized fluid connectable through a hose to a propulsion system and one or more apertures or nozzles for forming one or more jets of fluid that are discharged from the propulsion system such that a nozzle reaction force, acting in a direction opposite the direction of the jet stream, is exerted on the jet propulsion system. Fluid can also be delivered through a curved tube or passage in the propulsion system such that a stream of fluid that is discharged from the propulsion system is not traveling in the same direction as it was before it was discharged such that the change in direction of the fluid causes a change in momentum of the fluid for exerting an additional reaction force on the propulsion system. A user engaging mechanism, connected to the propulsion system, is configured to transmit exercise forces to a user. The device includes controls for controlling the magnitude and direction of the reaction force vector applied to the user engaging mechanism. Various embodiments of user engaging members, including blocking dummies, handles, gloves, helmets, shoes, straps or balls, may be attached to the propulsion system. Read more...
This patent discloses an apparatus for physical fitness physical strength, agility and endurance training.
Abstract: An apparatus for physical fitness physical strength, agility and endurance training. A controllable pressurized flow of fluid is first received via a hose to a source of the pressurized fluid. In response to this flow of fluid, a force is generated along at least one of a plurality of selected directions using one or more apertures or nozzles. The force is then transferred to a user of the apparatus so as to supply physical resistance training to the user. The apparatus further includes a user engaging mechanism that is connected to the propulsion system, and is configured to transmit exercise forces to an associated user. The apparatus further includes controls for controlling the magnitude and direction of the reaction force vector applied to the user engaging mechanism. Various embodiments of user engaging members, including blocking dummies, handles, gloves, helmets, shoes, straps or balls, may be attached to the propulsion system. Read more...
