A-Z



A-Z




Athletic Training Equipment




Exercise Apparatus with Variable Mode Hydraulic Cylinder

US Patent: 7,762,934

This patent discloses a hydraulic cylinder for use in exercise machines to deliver a controllable fast acting force. The invention uses a hydraulic cylinder with features that allow high acceleration rates, rapid changes of force level and direction, and positive force limitation.






Method and Apparatus for Physical Fitness Training

US Patent: 7,547,269

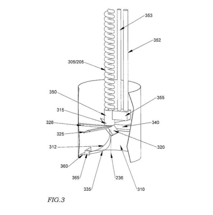
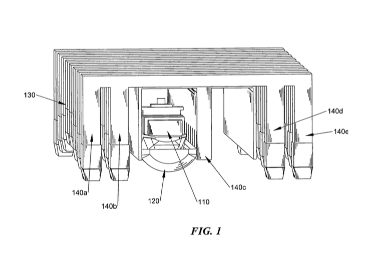
This patent discloses an improved method and apparatus for physical strength, agility and endurance training uses fluid jet reaction forces to train and strengthen muscles.






Method and Apparatus for Physical Fitness Training

US Patent: 7,648,450

This patent discloses an apparatus for physical fitness physical strength, agility and endurance training.




Military






Swept Conical-Like Profile Axisymmetric Circular Linear Shaped Charge

US Patent: 9,175,936 *Co-Owned with Innovative Defense

This patent discloses a novel shaped charge device that produces a hollow cylindrical jet capable of creating a hole in a target larger than the overall diameter of the device.






Revolved Arc Profile Axisymmetric Explosively Formed Projectile Shaped Charge

US Patent: 9,175,940 *Co-Owned with Innovative Defense

This patent discloses a novel axisymmetric revolved arc explosively formed projectile (REFP) shaped charge design will produce a projectile that is greater than 2/3 the diameter of the device forms a hole larger than the device diameter and removes all of the target material within the hole diameter.





Enhanced light weight Armor system with deflective operation

US Patent: 7,546,795

This patent discloses an enhanced light weight armor plating for protection against HEAT warheads.




Geothermal




Geothermal Heat Transfer

US Patent: 8,418,465

This patent discloses an invention that uses an innovative closed-loop steam cycle with a primary geothermal boiler and a recirculating arrangement to deliver a portion of the enthalpy of that produced steam as a higher temperature and pressure steam to the surface.





Heat Actuated Cooling System

US Patent: 7,918,095

This patent discloses a system that uses a batch method process absorption cooling through a number of separate sealed two compartment containers which are moved physically between a heating area, a cooling area, a storage area and a refrigeration area.




Marine Equipment




Remote Docking Port

US Patent: 8,858,149

This patent discloses a floating dock port that allows ships to dock within the port structure and be loaded, unloaded, and refueled, while converting the energy generated from wave motion into a usable source of power.





Belt Drive Marine Propulsion System

US Patent: 7,322,865

This patent discloses an apparatus and method for providing propulsion to naval vehicles by using one or more suspended belt drives to consistently engage the water proximate to the surface using a variety of belts with multiple attachments, tires, or variable lugs.




Solar




Solar Energy System

US Patent: 7,614,397

This patent discloses a method and apparatus for storing, transporting, and releasing high grade, thermodynamically useful energy for a wide variety of uses.




Blastout Fire Extinguisher




Blastout Fire Extinguishing Device and Method

US Patent: 7,121,354

This patent discloses a fire extinguishing device and associated methods. The device is adapted to be positioned in proximity to a fire and operable in response to heat output by the fire.



A-Z Inventions



Armor System with Deflective Operation




Belt Drive Propulsion System




High Energy and Temperature Systems


Jack Hammer


Kinetic Energy Weapons


Liquefied Natural Gas


Nanotechnology


Overhead Transportation


Pulsed Solid Fuel Propulsion


Quick Response Muscle Trainer




Rocket Propelled Aircraft


Telescopic Catapult


Underground Excavation


Variable Gradient Pavement


eXtra Ideas


More Information Coming Soon...

Young Child Development