This patent discloses a floating dock port that allows ships to dock within the port structure and be loaded, unloaded, and refueled, while converting the energy generated from wave motion into a usable source of power.
Abstract: This invention is a floating dock port that allows ships to dock within the port structure and be loaded, unloaded, and refueled, while converting the energy generated from wave motion into a usable source of power. The docking port isolated the vessels from waves and adverse sea currents, which allows for more effective cargo transfer. The docking port is extremely large and functions as a storage and distribution center for naval vessels. The loading and unloading of cargo and containers is accomplished by a container handling system the utilizes hoists, railed carriages, and cargo elevators to facilitate efficient loading and unloading of containers. Read more...
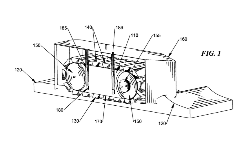
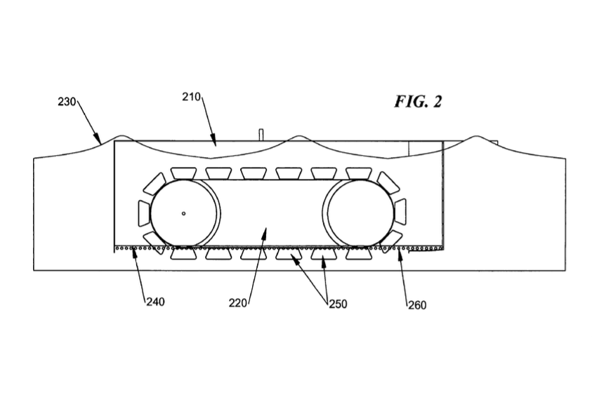
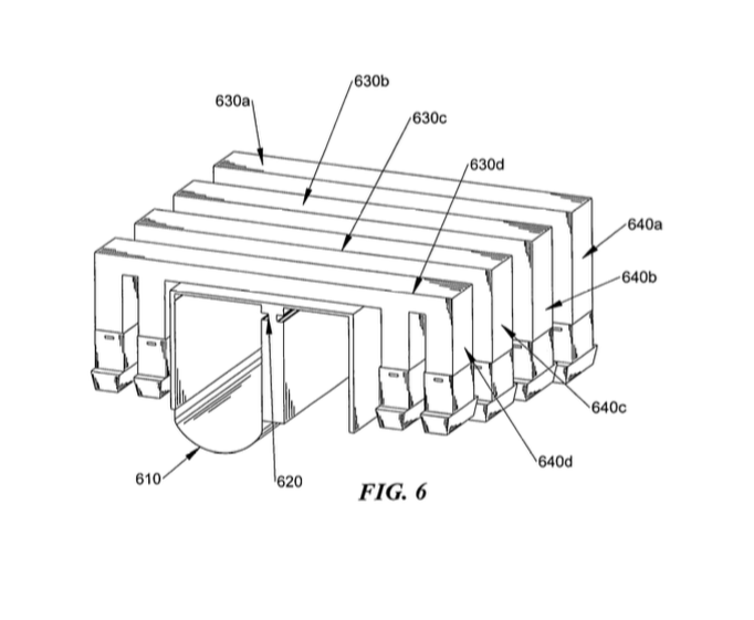
This patent discloses an apparatus and method for providing propulsion to naval vehicles by using one or more suspended belt drives to consistently engage the water proximate to the surface using a variety of belts with multiple attachments, tires, or variable lugs.
Abstract: An apparatus and method for providing propulsion to naval vehicles by using one or more suspended belt drives to consistently engage the water proximate to the surface using a variety of belts with multiple attachments, tires, or variable lugs. The drive belt system incorporated the use of a linear air bearing surface to minimize the belt friction of the drives. This invention also involves the use of open-bottomed enclosures to insulate the propulsion system from adverse water conditions that might otherwise prevent the belt drives from consistently and efficiently engaging the water. Read more...
